



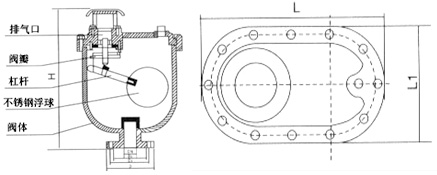
CARV清水復合式排氣閥用于管路上的最高點有閉氣的地方,來排除管內的氣體來疏通管首,達到正常工作,如不裝排氣閥,管內流動的液體會產生動熱引起氣體形成短路,使管道出水容量達不到設計要求,其次,管道在運轉時出現停電、停泵管道會出現負壓力會引起管道振動或破裂,排(吸)氣閥就迅速反空氣吸入客內,防止管道振動或破裂。



當水進入管道時,塞頭停在定位架下部,進行大量排氣,當空氣排完時,水進入閥內把球浮起傳動塞頭到關閉,停止排氣。如管道在正常運轉時自然會產生少量氣體會聚到管內上部,到相當程度,閥內水位下降,浮球隨時下降氣體從小孔排出。如出現停電,停泵,管內水流空時,管內隨時會出現負壓力,浮球順水下降,打開小孔帶動大孔大量進氣確保管道安全。
1、介質:清水
2、使用溫度:常溫
3、閥體:灰鑄鐵HT200
4、浮球與塞頭:不銹鋼
5、密封材料:丁腈橡膠
6、閥體強度打壓:1.5Mpa
7、密封試驗打壓:0.05-1.1Mpa不漏水
| 公稱通徑(DN) | H | L | L1 |
|---|---|---|---|
| 20/25 | 400 | 290 | 180 |
| 50 | 480 | 370 | 200 |
| 80 | 600 | 420 | 250 |
| 100 | 600 | 420 | 250 |
| 150 | 750 | 600 | 350 |
| 200 | 870 | 670 | 410 |
| NO | 名稱 | 材質 |
|---|---|---|
| 1 | 閥體 | HT200 |
| 2 | 閥蓋 | HT200 |
| 3 | 浮球 | 304不銹鋼 |
| 4 | 閥瓣 | 黃銅、不銹鋼 |
| 5 | 杠桿 | H59黃銅 |
| 6 | 塞頭 | 不銹鋼 |

dgfmjt@163.com

021-66861950

上海市金山區亭林鎮亭朱公路1918號